Спустя более десяти лет после выхода первого поколения Apple Pencil корпорация Apple продолжает активно искать пути развития своего фирменного стилуса. Согласно данным из недавно одобренного патента, компания разрабатывает устройство, которое сможет физически адаптироваться под конкретные задачи пользователя, такие как каллиграфия или живопись.
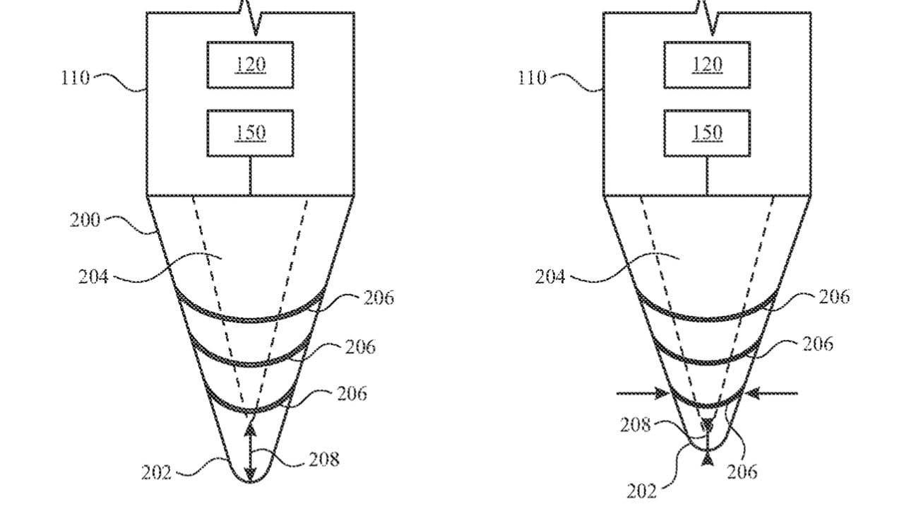
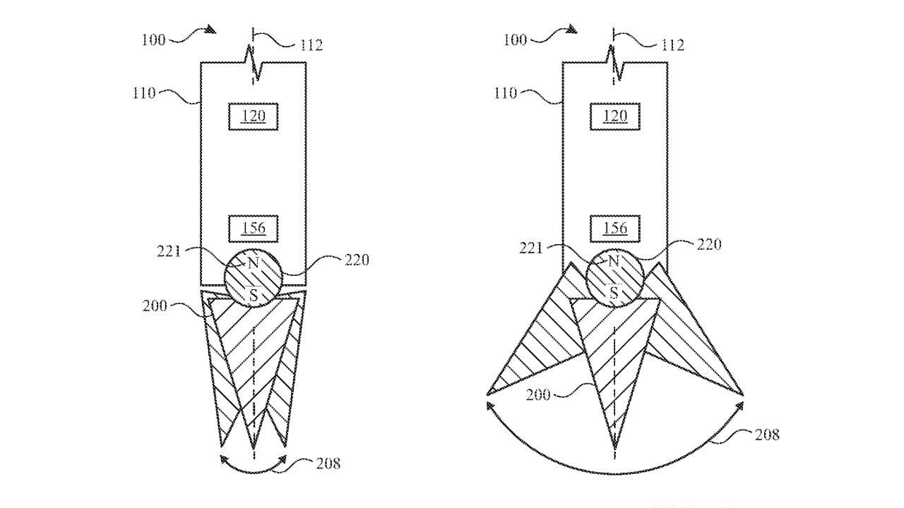
В документе под названием «Стилус с регулируемыми характеристиками» (Stylus with adjustable features) описывается гаджет, способный радикально менять тактильные ощущения от использования. Главная инновация заключается в управлении габаритами, жёсткостью и силой трения наконечника. Для этого инженеры Apple предлагают использовать специальную магнитореологическую жидкость между стержнем и корпусом: под воздействием магнитного поля она сможет в реальном времени менять свою вязкость.

На практике это означает, что Apple Pencil сможет подстраиваться под выбранный цифровой инструмент, имитируя карандаш, мел, маркер или перьевую ручку. Например, при смене кисти устройство сможет сместить свой центр тяжести и изменить момент инерции, симулируя распределение веса классической шариковой ручки. В патенте содержится 31 чертёж, подробно иллюстрирующий эти метаморфозы.
На некоторых схемах показано, как наконечник может расширяться или раздваиваться, а также использовать насадки, напоминающие ворс настоящей художественной кисти. Привычная конусообразная форма стержня при этом перестанет быть обязательной и сможет менять свои физические параметры в зависимости от режима.

Для быстрого переключения между характеристиками в стилус планируют встроить сенсорную поверхность, а дополнительную реалистичность процессу обеспечит продвинутая система тактильной отдачи. Ожидается, что такой Apple Pencil останется глубоко интегрированным в работу с iPad, однако в документации также упоминается возможность взаимодействия с интерфейсами на iPhone.
Стоит отметить, что Apple регулярно регистрирует нестандартные патенты для своих стилусов – в прошлом компания уже описывала датчики для распознавания цветов и фактур реальных объектов, интеграцию прозрачной панели Touch Bar и даже использование пера в качестве телевизионной антенны. И хотя далеко не все инженерные концепты добираются до серийного производства, новый документ наглядно демонстрирует, что компания видит будущее Apple Pencil в превращении его в трансформируемый физический инструмент для творчества.